Tel.: +8615820092686
(Wechat & Whatsapp)
E-mail: spareparts@sf-trucks.com
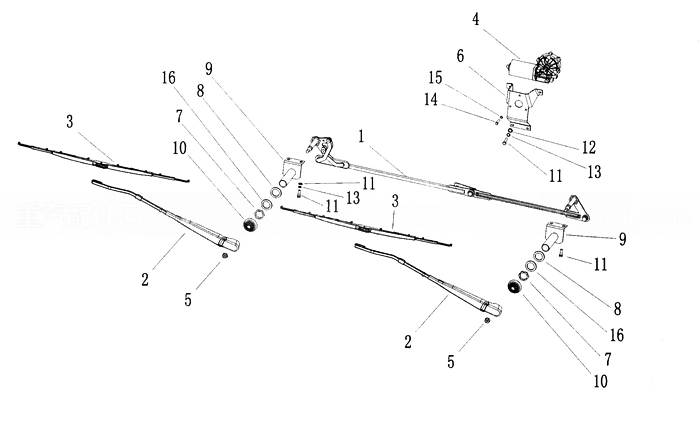
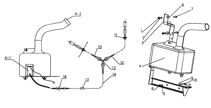
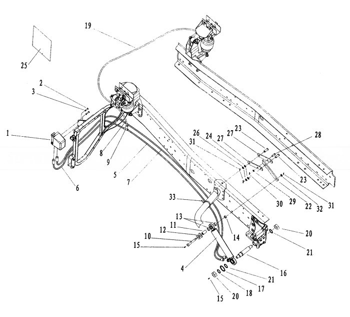
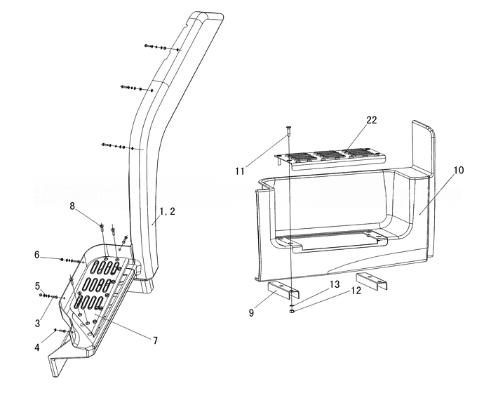
Home > Parts Manual > Cabin-HOWO Series
Cabin-HOWO Series
Tel.: +8615820092686
(Wechat & Whatsapp)
E-mail: spareparts@sf-trucks.com
Home > Parts Manual > Cabin-HOWO Series
Cabin-HOWO Series